New One For Monday Morning

Looking for genuine BMW parts at discounted prices? Try here!

Moderators: martauto, Cotswoldbmw

Post Reply
SCOTT325SE
Married to the E30 Zone
Married to the E30 Zone
Posts: 12582
Joined: Sun Jan 09, 2005 11:00 pm
Location: Carmarthen (West Wales)

Sun Nov 30, 2008 11:48 pm

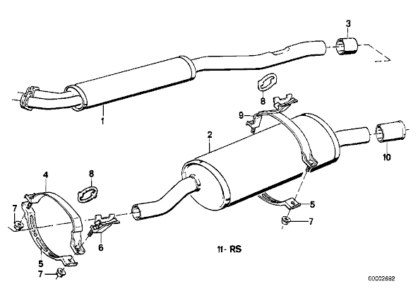
Can I please get a price for parts 1,5,6,7(x2)?
The back box is from a 3piece exhaust system for an 89 325i?

Thanks Cotswold!

Scott

Image
MissusBeesa
E30 Zone Newbie
E30 Zone Newbie
Posts: 57
Joined: Sun Apr 06, 2008 11:00 pm
Location: Back on the zone!

Mon Dec 01, 2008 8:00 am

The picture above is from a 2 piece system.
SCOTT325SE
Married to the E30 Zone
Married to the E30 Zone
Posts: 12582
Joined: Sun Jan 09, 2005 11:00 pm
Location: Carmarthen (West Wales)

Mon Dec 01, 2008 10:47 am

I know, thats why I said I'd need prices for a 3piece system. (I couldnt find a pic of a 3piece system)
User avatar
zimmerbimmer1
BMW Parts Meister
Posts: 2250
Joined: Sat May 19, 2007 11:00 pm

Mon Dec 01, 2008 11:01 am

here you go

Image
Image
SCOTT325SE
Married to the E30 Zone
Married to the E30 Zone
Posts: 12582
Joined: Sun Jan 09, 2005 11:00 pm
Location: Carmarthen (West Wales)

Mon Dec 01, 2008 11:03 am

cheers. obviously the 325 3piece system is a twin pipe all the way through though, so figured the old pic would do.

Any idea if Cotswold will be around soon, as im just off to swansea and will be driving past my 'local' dealers
User avatar
Cotswoldbmw
E30 Zone Team Member
E30 Zone Team Member
Posts: 9288
Joined: Sun Sep 14, 2008 11:00 pm
Location: Cheltenham
Contact:

Mon Dec 01, 2008 11:39 am

Hi There

Rear silencer £161.40
Brackets £5.78 each X2
Brackets £8.00 each X2

these prices are delivered inc. VAT

please call us on 01242 257999 and quote 31859 if you would like us to order for you

Thanks

Brett
Cotswold BMW Parts
01242 335365

PayPal? - No Problem
Just send the amount quoted as a gift to partscheltenham@cotswoldgroup.com, along with your name, reference number, delivery address and contact telephone number.
SCOTT325SE
Married to the E30 Zone
Married to the E30 Zone
Posts: 12582
Joined: Sun Jan 09, 2005 11:00 pm
Location: Carmarthen (West Wales)

Mon Dec 01, 2008 2:23 pm

Thanks Brett,
My local stealers quoted me about 12% less than that though, so I will go with them.
Thank you for such prompt responce though!
Post Reply