5 LUG setup

General E30 related discussions -
Please put technical questions in E30 Tech Help forum below

Moderator: martauto

jasso
E30 Zone Regular
E30 Zone Regular
Posts: 531
Joined: Tue Mar 28, 2006 11:00 pm

Mon May 11, 2015 11:52 am

I have the e36 m3 evo front setup and yes the wheel does not sit sit central of the wheel well, after speaking to a engineering firm they are saying that they can produce a sleeve adaptor to accomodate the 5 lug hub then will need to fabricate an adaptor for the calipers and more or less bingo. the engineering firm have said they can make the sleeve either that it needs to be pressed on or so it needs to be sweated on (heated up so it expands drop it over the spindle and as it cools it grips the hell of the spindle)

Was wondering how many people, if any would be intrested?
User avatar
Laith
E30 Zone Newbie
E30 Zone Newbie
Posts: 239
Joined: Mon Jul 08, 2013 11:00 pm

Mon May 11, 2015 11:54 am

Does this mean you can fit a 5 lug hub onto the standard e30 suspension?
jasso
E30 Zone Regular
E30 Zone Regular
Posts: 531
Joined: Tue Mar 28, 2006 11:00 pm

Mon May 11, 2015 11:55 am

Yes
User avatar
Laith
E30 Zone Newbie
E30 Zone Newbie
Posts: 239
Joined: Mon Jul 08, 2013 11:00 pm

Mon May 11, 2015 11:55 am

Then yes I would be interested price dependent. (Just paid for a respray ) :?
jasso
E30 Zone Regular
E30 Zone Regular
Posts: 531
Joined: Tue Mar 28, 2006 11:00 pm

Mon May 11, 2015 11:58 am

im gonna go and see them later this week, will keep you guys updated
HairyScreech
Engaged to the E30 Zone
Engaged to the E30 Zone
Posts: 6265
Joined: Sun Jan 21, 2007 11:00 pm

Mon May 11, 2015 1:16 pm

This one has been round and round so many times, If you want to see the full detail of what's involved search out a thread I made a few months back. It is much more involved than just a spacer once you start considering the other important aspects of the conversion.
Disc offset/clashing with the ball joint is a problem unless you want to have custom discs, Hub nut locking and bearing retention is CRITICAL and something that is a bit questionable on some jobs people have done.

For what it's worth, Tom Cresswell on here currently has all of my info as is looking to produce some kind of solution based on that info. Might be worth getting in touch with him first.

Sefetly/reliability wise the sleeve is fine, I have 4k miles on mine now including 4 hours solid at 70+.

For what it's worth, my take was that it was better to have a press fit into the bearing cup (they can be removed to press) and then the standard bearing fit onto the axle to keep the axle loaded in the correct/standard manner.
2.8 development thread http://www.e30zone.net/modules.php?name ... c&t=170822

m3.3.1 m20 thread - now running, chip needed - any volunteers?
http://www.e30zone.net/modules.php?name ... =viewtopic&
User avatar
Brianmoooore
E30 Zone Team Member
E30 Zone Team Member
Posts: 49358
Joined: Mon Jan 10, 2005 11:00 pm

Mon May 11, 2015 1:31 pm

"Lug" is a verb, meaning to pull, or a slang term for an ear.
The things which hold wheels to hubs are studs or bolts!
steve_k
E30 Zone Team Member
E30 Zone Team Member
Posts: 8044
Joined: Fri May 23, 2008 11:00 pm
Location: in the vale of mansfield
Contact:

Mon May 11, 2015 1:42 pm

if/when i decide to go down the 5 stud conversion route instead of hunting out the m3 evo parts for the front i might just take the easy(cheap) option & buy an mot failure e36 compact & use the rear beam/trailing arms/hubs etc off the rear & front legs/hubs/bearings for the front, saves having to get custom parts made up.
if it's got t*ts or wheels it's bound to be trouble...............prove me wrong.
getting oral sex off an ugly person is like rock climbing.....don't look down ;)
Motorhole
E30 Zone Addict
E30 Zone Addict
Posts: 2395
Joined: Tue Jul 12, 2005 11:00 pm
Location: Cheshire

Mon May 11, 2015 2:10 pm

steve_k wrote:if/when i decide to go down the 5 stud conversion route instead of hunting out the m3 evo parts for the front i might just take the easy(cheap) option & buy an mot failure e36 compact & use the rear beam/trailing arms/hubs etc off the rear & front legs/hubs/bearings for the front, saves having to get custom parts made up.
Front legs/hubs/bearings etc off the front of a compact won't centre the wheel in the arch - it will sit towards of the rear of the arch and rub on the arch liner/firewall. Which is why the e36 m3 evo parts are required as the (different from other E36s) lower wishbones, hub assembly and with E30 M3 eccentric bushes give you something close to acceptable geometry.
steve_k
E30 Zone Team Member
E30 Zone Team Member
Posts: 8044
Joined: Fri May 23, 2008 11:00 pm
Location: in the vale of mansfield
Contact:

Mon May 11, 2015 2:13 pm

Motorhole wrote:
steve_k wrote:if/when i decide to go down the 5 stud conversion route instead of hunting out the m3 evo parts for the front i might just take the easy(cheap) option & buy an mot failure e36 compact & use the rear beam/trailing arms/hubs etc off the rear & front legs/hubs/bearings for the front, saves having to get custom parts made up.
Front legs/hubs/bearings etc off the front of a compact won't centre the wheel in the arch - it will sit towards of the rear of the arch and rub on the arch liner/firewall. Which is why the e36 m3 evo parts are required as the (different from other E36s) lower wishbones, hub assembly and with E30 M3 eccentric bushes give you something close to acceptable geometry.
fair enough, i didn't know about that but at least it gives me a heads up, thanks :D
if it's got t*ts or wheels it's bound to be trouble...............prove me wrong.
getting oral sex off an ugly person is like rock climbing.....don't look down ;)
jasso
E30 Zone Regular
E30 Zone Regular
Posts: 531
Joined: Tue Mar 28, 2006 11:00 pm

Tue May 12, 2015 7:52 am

HairyScreech wrote:This one has been round and round so many times, If you want to see the full detail of what's involved search out a thread I made a few months back. It is much more involved than just a spacer once you start considering the other important aspects of the conversion.
Disc offset/clashing with the ball joint is a problem unless you want to have custom discs, Hub nut locking and bearing retention is CRITICAL and something that is a bit questionable on some jobs people have done.
Ok i will bear all of this in mind but to be fair i have 2 e28 wheel bearings/hubs which are not far off in height compared to the E30 one, so once the adaptor sleeve is made that will allow the hub to fit on the locking nut to fit and to be knotched with a chiesel just as they are on a stock E30 however if needed can adopt the split pin method, the next hurdle would be disc and calipers.
jasso
E30 Zone Regular
E30 Zone Regular
Posts: 531
Joined: Tue Mar 28, 2006 11:00 pm

Tue May 12, 2015 7:54 am

Brianmoooore wrote:"Lug" is a verb, meaning to pull, or a slang term for an ear.
The things which hold wheels to hubs are studs or bolts!
My apologies stud.
User avatar
davelarge
E30 Zone Newbie
E30 Zone Newbie
Posts: 244
Joined: Tue Jun 21, 2011 11:00 pm

Tue May 12, 2015 11:06 am

I've purchased a kit like you've described, I got it from a guy in Latvia that advertised on r3vlimited, will be fitting them soon, total cost was about £180 delivered.

http://www.r3vlimited.com/board/showthread.php?t=306268
jasso
E30 Zone Regular
E30 Zone Regular
Posts: 531
Joined: Tue Mar 28, 2006 11:00 pm

Tue May 12, 2015 12:09 pm

Dave i saw that kit ages ago and didnt like the way the bolt has to go through the end but i understand why he has done that in order to space out the hub.
HairyScreech
Engaged to the E30 Zone
Engaged to the E30 Zone
Posts: 6265
Joined: Sun Jan 21, 2007 11:00 pm

Tue May 12, 2015 1:32 pm

jasso wrote:
HairyScreech wrote:This one has been round and round so many times, If you want to see the full detail of what's involved search out a thread I made a few months back. It is much more involved than just a spacer once you start considering the other important aspects of the conversion.
Disc offset/clashing with the ball joint is a problem unless you want to have custom discs, Hub nut locking and bearing retention is CRITICAL and something that is a bit questionable on some jobs people have done.
Ok i will bear all of this in mind but to be fair i have 2 e28 wheel bearings/hubs which are not far off in height compared to the E30 one, so once the adaptor sleeve is made that will allow the hub to fit on the locking nut to fit and to be knotched with a chiesel just as they are on a stock E30 however if needed can adopt the split pin method, the next hurdle would be disc and calipers.
Are the E28 bearings the same width as the E36/46/34/32 etc bearings?
If so they are about 6mm wider, which is enough to mean you only have about 3 turns of thread holding the bearing on, a standard lock nut is then too long to pinch over properly and does not really contact enough thread.
To make it worse the E30 lock nut is not big enough to hold the bearing on properly due to the larger inner diameter of the 5 stud bearing (37mm bearing inner).

Yes the offest comes out about the same as an E30, but all the 5 stud BMW disc have deeper "top hats" than E30 4 stud discs.
This means either aftermarket disc or you have the issue of the disc being too deep for the hub and contacting the lower wishbone joint.

With that said, using stock e30 front callipers and Z3 rear calipers combined with 300mm front and 270mm rears the brake bias is within a couple of percent of the standard bais.

One further thing to think about is that the front offset is wrong and actually results in a 10mm narrower front track with Et41 wheels.
Throw in lowering and the associated roll centre issue and I have to question if this route is worthwhile as a performance upgrade.

If you are only after looks then fine and the performance you will get is still much better than stock e30 bits, but considering the pain involved probably not worth it.

Personally I am looking at converting some other struts to take E30 style lower joints, this will give me control of the castor and roll centre, allowing correct front geometry in a manner similar to the M3 but at much less cost and with greater stiffness.
2.8 development thread http://www.e30zone.net/modules.php?name ... c&t=170822

m3.3.1 m20 thread - now running, chip needed - any volunteers?
http://www.e30zone.net/modules.php?name ... =viewtopic&
nickso
E30 Zone Addict
E30 Zone Addict
Posts: 4396
Joined: Sat Jul 23, 2005 11:00 pm
Location: Go do that voodoo that you do so welllllllll!!

Tue May 12, 2015 4:52 pm

E28 wheel bearings are the same as E30 M3 wheel bearings Except for the ABS ring I think. Pretty sure that's whats on mine.
Image

'88 e30 328i M52 track bint.
jasso
E30 Zone Regular
E30 Zone Regular
Posts: 531
Joined: Tue Mar 28, 2006 11:00 pm

Wed May 13, 2015 7:29 am

Just come across these

Image

Think it may be easier to get these and centralise my existing setup??? or have some made up with a sliding mechanism which will allow full adjustability of the the bush.
Motorhole
E30 Zone Addict
E30 Zone Addict
Posts: 2395
Joined: Tue Jul 12, 2005 11:00 pm
Location: Cheshire

Wed May 13, 2015 8:55 am

jasso wrote:Just come across these

Image

Think it may be easier to get these and centralise my existing setup??? or have some made up with a sliding mechanism which will allow full adjustability of the the bush.
These will allow adjustment of castor but I doubt there will be enough adjustment to move the wheel forward enough. I'd imagine it would have to move forward a good 40-50 mm if using standard E36 gubbins. To do that, the control arm would pretty much have to be inside the chassis rail!

These, combined with E36 M3 Evo control arms would improve matters but you may still end up parting with cash and not be happy with the result.
jasso
E30 Zone Regular
E30 Zone Regular
Posts: 531
Joined: Tue Mar 28, 2006 11:00 pm

Wed May 13, 2015 9:51 am

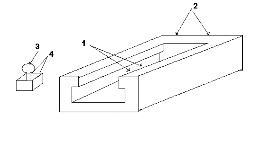
I was thinking that to so i designed something that could be worth bulk producing.

Image

fig represent:
1 = 2 bolts that go into the chasis leg and sit flush
2 = 2 bolts that will be used to adjust the block that will have the spherical bush in there
3 = the spherical bush
4 = were fig 2 bolts will drive the adjustment


Sorry for the rough illustration but im at work with managers close by lol But you should get the picture the solid block with the spherical bush will slide in the piece that would be bolted in the chassis leg.
User avatar
martinpallot
E30 Zone Regular
E30 Zone Regular
Posts: 352
Joined: Sat Aug 04, 2007 11:00 pm
Location: Jersey C.I

Wed May 13, 2015 10:40 am

The idea above would mean the rear end of the wishbone would be lower than the front which is undesirable as it causes odd changes in dynamic castor resulting in funny handling. With evo wishbones and hubs and eccentric bushes you shouldn't have any issues with un-centered wheels
jasso
E30 Zone Regular
E30 Zone Regular
Posts: 531
Joined: Tue Mar 28, 2006 11:00 pm

Wed May 13, 2015 10:58 am

really and truely i just want the wheel to sit central in the wheel well and 5 stud, think sleeving the e30 stub similar to the latvian guy is the way forward.
Motorhole
E30 Zone Addict
E30 Zone Addict
Posts: 2395
Joined: Tue Jul 12, 2005 11:00 pm
Location: Cheshire

Wed May 13, 2015 12:28 pm

Truly, unless using the E36 M3 Evo stuff for the big brakes (which come with their own issues too, btw! I know, I've been through it and spent the time & money resolving it), the 5-stud swap isn't worth it. Custom spacers etc don't guarantee fitment as you need to find brake discs and wheels with the correct offset and get caliper brackets made up. Often the safety of some setups is debatable too.

If you can't wait for the solutions form the likes of Tom Cresswell and Hairyscreech (who know what they're doing), there is a full, correct E36 setup in the for sale section now at £600. That would prove the most hassle free solution. Also Driftnething has an E30 M3 setup on Ebay now - although that will likely be around £1k+ and will require lower offset wheels than E36/E46 type wheels - or hubcentric spacers.
Demlotcrew
E30 Zone Team Member
E30 Zone Team Member
Posts: 13329
Joined: Mon Dec 20, 2004 11:00 pm
Location: East Anglia

Wed May 13, 2015 12:32 pm

Best/value for money solution is to redrill bearings/flanges to 5x100 and then use PCD adaptors to 5x120.

You have the widest choice of wheels with this combo and no issues with needing new brake solutions.
HairyScreech
Engaged to the E30 Zone
Engaged to the E30 Zone
Posts: 6265
Joined: Sun Jan 21, 2007 11:00 pm

Wed May 13, 2015 12:43 pm

Motorhole wrote:
jasso wrote:Just come across these

Image

Think it may be easier to get these and centralise my existing setup??? or have some made up with a sliding mechanism which will allow full adjustability of the the bush.
These will allow adjustment of castor but I doubt there will be enough adjustment to move the wheel forward enough. I'd imagine it would have to move forward a good 40-50 mm if using standard E36 gubbins. To do that, the control arm would pretty much have to be inside the chassis rail!

These, combined with E36 M3 Evo control arms would improve matters but you may still end up parting with cash and not be happy with the result.
As Nick said, the back wishbone mount needs to move out, it has been done with modified treehouse bearings, but the chassis leg needs to be dented back to allow the eyelet across enough.

We were looking at using E46 stuff recently as it already has similar caster to the e36m3 legs when fitted to the e30, (Gunni test fitted some but it was never developed).
It would seem the normal e46 stuff with E30 wishbones and eccentric bushes may be closer to the right geometry than the E36 setup.
If someone has a shell to test fit on then it might be worth a try, the only reason I have not tried it out is the E30 is my daily atm until I pick up a Z3.

Edit- As Motorhole and Demlot have said, currently the best way is to either:
1. Use e30 M3 legs
2. Use E36 M3 Evo parts
3. Have a hub drilled to 5x100 and use a 5x100 to 5x120 adaptor, not sure what discs though.
4. Use some of the tried and tested 4x100 to 5x120 adaptors
5. Wait until Tom decides how he is going to go about machining his hub.

Personally I don't think my way of doing it is very practical, it works and it works well, but it needs a lot of parts with fine tolerances and still leaves you with the limitations of the stock E30 front suspension.
The same can be said for all other sleeve set ups.
2.8 development thread http://www.e30zone.net/modules.php?name ... c&t=170822

m3.3.1 m20 thread - now running, chip needed - any volunteers?
http://www.e30zone.net/modules.php?name ... =viewtopic&
Demlotcrew
E30 Zone Team Member
E30 Zone Team Member
Posts: 13329
Joined: Mon Dec 20, 2004 11:00 pm
Location: East Anglia

Wed May 13, 2015 12:57 pm

Gunni......now theres a name I've not heard in a while.

Fitting E36/E46 hardware is a complete waste of time (unless its for cosmetic/drift reasons) as on track its been proven time and time again, the stock uprights and M3 geo is far superior (scrub radius, unsprung weight, roll centre and castor for example) plus any gains of response of quicker racks is completely negated with the later hub pivot radius.

My advice, try and make it work with E30 struts on the front.
Last edited by Demlotcrew on Wed May 13, 2015 12:59 pm, edited 1 time in total.
HairyScreech
Engaged to the E30 Zone
Engaged to the E30 Zone
Posts: 6265
Joined: Sun Jan 21, 2007 11:00 pm

Wed May 13, 2015 12:58 pm

Here is the thread where the E46 stuff was first tried. With some more development time and a bit more measurement/calculation I looks to have some legs (pardon the pun).

http://www.e30tech.com/forum/showthread.php?t=89366
2.8 development thread http://www.e30zone.net/modules.php?name ... c&t=170822

m3.3.1 m20 thread - now running, chip needed - any volunteers?
http://www.e30zone.net/modules.php?name ... =viewtopic&
SCOTT325SE
Married to the E30 Zone
Married to the E30 Zone
Posts: 12582
Joined: Sun Jan 09, 2005 11:00 pm
Location: Carmarthen (West Wales)

Wed May 13, 2015 7:30 pm

steve_k wrote:if/when i decide to go down the 5 stud conversion route instead of hunting out the m3 evo parts for the front
Hunt no further.... You can find them for sale here....
(Totally connected to seller) :stupid:

http://www.e30zone.net/modules.php?name ... c&t=261585
Motorhole wrote:there is a full, correct E36 setup in the for sale section now at £600. That would prove the most hassle free solution.
Hello again :mrgreen:
jasso
E30 Zone Regular
E30 Zone Regular
Posts: 531
Joined: Tue Mar 28, 2006 11:00 pm

Wed May 13, 2015 10:22 pm

Image

Image

First pic shows the e30 nut hand tightened with the e28 hub, second pic shows the space from the ball joint knuckle. The nut I'm thinking to use some sort of split pin solution and a 6mm spacer between the hub face and disc.
Demlotcrew
E30 Zone Team Member
E30 Zone Team Member
Posts: 13329
Joined: Mon Dec 20, 2004 11:00 pm
Location: East Anglia

Thu May 14, 2015 9:40 am

How will you centre the disk on the hub with a 6mm spacer?
steve_k
E30 Zone Team Member
E30 Zone Team Member
Posts: 8044
Joined: Fri May 23, 2008 11:00 pm
Location: in the vale of mansfield
Contact:

Thu May 14, 2015 9:44 am

SCOTT325SE wrote:
steve_k wrote:if/when i decide to go down the 5 stud conversion route instead of hunting out the m3 evo parts for the front
Hunt no further.... You can find them for sale here....
(Totally connected to seller) :stupid:

http://www.e30zone.net/modules.php?name ... c&t=261585
Motorhole wrote:there is a full, correct E36 setup in the for sale section now at £600. That would prove the most hassle free solution.
Hello again :mrgreen:
nice plug scott, but it won't be for a while yet lol.
if it's got t*ts or wheels it's bound to be trouble...............prove me wrong.
getting oral sex off an ugly person is like rock climbing.....don't look down ;)
User avatar
rob0r
E30 Zone Regular
E30 Zone Regular
Posts: 639
Joined: Tue Apr 03, 2007 11:00 pm

Thu May 14, 2015 10:35 am

davelarge wrote:I've purchased a kit like you've described, I got it from a guy in Latvia that advertised on r3vlimited, will be fitting them soon, total cost was about £180 delivered.

http://www.r3vlimited.com/board/showthread.php?t=306268
This kit does seem like it's been tested a fair amount for two years with no negative information yet. I can see why people have doubts but is a kit like this such a bad idea?

I like the 5 x 100 idea but you'd end up bolting up at least 20mm worth of spacer to each side.
HairyScreech
Engaged to the E30 Zone
Engaged to the E30 Zone
Posts: 6265
Joined: Sun Jan 21, 2007 11:00 pm

Thu May 14, 2015 10:58 am

rob0r wrote:
davelarge wrote:I've purchased a kit like you've described, I got it from a guy in Latvia that advertised on r3vlimited, will be fitting them soon, total cost was about £180 delivered.

http://www.r3vlimited.com/board/showthread.php?t=306268
This kit does seem like it's been tested a fair amount for two years with no negative information yet. I can see why people have doubts but is a kit like this such a bad idea?

I like the 5 x 100 idea but you'd end up bolting up at least 20mm worth of spacer to each side.
You do if you use an e36/46 hub as well.

Robor - It is worth attaching an old wishbone and Tie rod to that leg, The wishbone is massive around the ball joint, it was only when I did that I spotted the issue.

Where in the country are you? I have a spare arm kicking about and you could have a look at my set up if you want.
2.8 development thread http://www.e30zone.net/modules.php?name ... c&t=170822

m3.3.1 m20 thread - now running, chip needed - any volunteers?
http://www.e30zone.net/modules.php?name ... =viewtopic&
jasso
E30 Zone Regular
E30 Zone Regular
Posts: 531
Joined: Tue Mar 28, 2006 11:00 pm

Thu May 14, 2015 12:11 pm

Demlotcrew wrote:How will you centre the disk on the hub with a 6mm spacer?
6mm spacer hubcentric if needed with a hole allowing you to bolt through the disc spacer into the hub.
HairyScreech
Engaged to the E30 Zone
Engaged to the E30 Zone
Posts: 6265
Joined: Sun Jan 21, 2007 11:00 pm

Thu May 14, 2015 12:22 pm

jasso wrote:
Demlotcrew wrote:How will you centre the disk on the hub with a 6mm spacer?
6mm spacer hubcentric if needed with a hole allowing you to bolt through the disc spacer into the hub.
One thing to note with that is the disc inner bore is larger than the wheel bore, It will have to be a customer spacer.
The sizes are in my 5 stud thread if you need them.
2.8 development thread http://www.e30zone.net/modules.php?name ... c&t=170822

m3.3.1 m20 thread - now running, chip needed - any volunteers?
http://www.e30zone.net/modules.php?name ... =viewtopic&
jasso
E30 Zone Regular
E30 Zone Regular
Posts: 531
Joined: Tue Mar 28, 2006 11:00 pm

Thu May 14, 2015 12:56 pm

cheers mate, i dont know what that disc was off as it was from my brothers mot garage it was defo 5x120 but the the hole that goes through the disc to the hub was not lining up but it was not a bad fit space wise from the knuckle.
Post Reply